fbpx

Підйомно – транспортні машини – Пневматичне транспортування

Підйомно – транспортні машини. Пневматичне транспортування вантажів трубопроводами:

Вантажі тепер все частіше переміщаються трубопроводами з використанням пневматичного транспортування, заснованого на різниці тисків повітря в початковій і кінцевій точках трубопроводу, що створюється спеціальними вакуумними або нагнітальними насосами. Цей метод знаходить застосування обох категорій вантажів – як масових, і штучних.

Вантажі, такі як порошкові, дрібноволокнисті та зернисті, переміщуються в струмені повітря трубопроводом, утворюючи аеросуміш, яка заповнює переріз трубопроводу. Головним чином пневматичне транспортування використовується для таких матеріалів. Продуктивність пристроїв для такого транспортування може досягати 400 тонн на годину, відстань переміщення – до 2 км, а висота підйому вантажу – до 100 м.

Різні типи пневматичних установок існують залежно від способу руху повітря трубопроводом.

1Всмоктувальні установки (рисунок 1, а) діють шляхом створення розрідження на виході трубопроводу, використовуючи вакуумний насос або вентилятор

6. Система трубопроводу герметична, що дозволяє всмоктувати повітря через сопло / разом із вантажем. Вантаж осаджується в камері 3, а повітря, що містить пил, проходить через фільтр 5 перед виходом в атмосферу.

Шлюзові затвори пропускають 4 вантаж і пил, але не дозволяють атмосферному повітрі потрапляти в трубопровід.

Всмоктувальні установки ефективні для збирання вантажу з різних точок завантаження до однієї точки розвантаження. Вони використовуються в основному для легких сипких вантажів на невеликі відстані, оскільки розрідження зазвичай не перевищує 70 кПа.

Нагнітальні установки (як рисунку 1, б) засновані на нагнітанні стисненого повітря трубопровід. Компресор, повітродувка або вентилятор 7 подає стиснене повітря повітрозбірник 6. Стисне повітря через вологовідділювач 9 надходить у трубопровід, а живильник 10 подає вантаж примусово. Вантаж осаджується у відділнику 3 повітря проходить через фільтр 5 і виходить в атмосферу. Ці установки зручні для транспортування вантажу від місця завантаження до кількох місць розвантаження через розгалужені трубопроводи. Тиск у трубопроводі може досягати 600 кПа, дозволяючи транспортувати пилоподібні та шматкові вантажі на великі відстані.

Змішані установки використовують всмоктування для транспортування вантажу до точки навантаження та нагнітання для переміщення його далі. Це дозволяє збирати вантаж із кількох точок завантаження та доставляти його у кілька точок розвантаження. Такі пристрої застосовуються, коли потрібне тривале переміщення вантажу.

Для успішного пневматичного транспортування вантажу з повітрям потрібна достатня швидкість повітря. При цій швидкості виникають аеродинамічні сили, що переміщують повітря і вантаж. Транспортування через трубопровід можливе, якщо швидкість перевищує швидкість витання частинок потоку повітря. Це швидкість, за якої аеродинамічна сила, що діє на частину вантажу, компенсує силу тяжіння. Вантаж “витає” у трубопроводі при цій швидкості. Швидкість витання залежить від ваги та форми частинки та визначається експериментально з урахуванням аеродинамічного коефіцієнта.

Пневматичне транспортування вантажів має декілька переваг, які призвели до його широкого застосування: можливість передачі вантажу по складних трасах; поєднання з технологічними процесами (сушіння, фракціонування та ін); гнучкість подачі вантажу від кількох місць завантаження до кількох точок розвантаження; мінімізація втрат вантажу та пилу; автоматизація процесу; застосовність у існуючих та нових виробництвах. Однак варто врахувати високий енергоспоживання (1-5 кВт-год/т, в 10-15 разів більше, ніж у механічного транспорту), знос пневматичних компонентів (особливо при переміщенні абразивних матеріалів), потреба в очищенні повітря, що видується перед викидом його в атмосферу, а також обмеження в транспортуванні вологих, липких та злипаються вантажів.

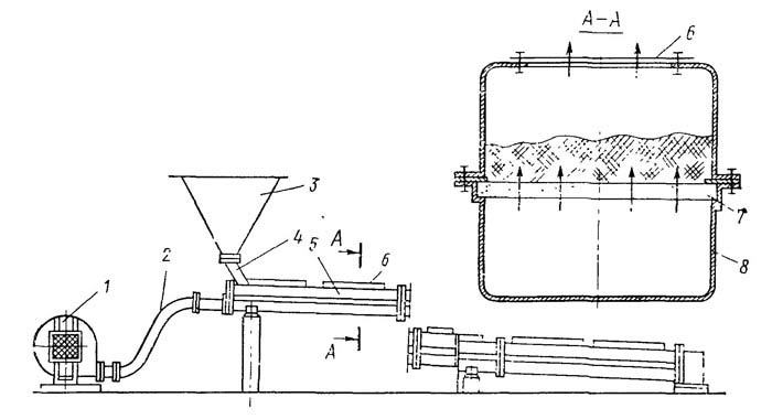
1Рисунок 2.Схема пневматичного жолоба. Варіантом пневматичного транспортування разом із повітрям є процес аерації, що полягає у насиченні сухих, пилоподібних вантажів повітрям. Цей метод застосовується для матеріалів, таких як цемент, мелене вугілля, борошно, пудра та інші, і дозволяє надати їм властивість псевдорідкої плинності. Такі вантажі можуть переміщатися під дією сили тяжіння спеціальними жолобами з дуже невеликим ухилом. Рисунок 2 показує закритий пневматичний жолоб, який складається з похилого лотка (5), розділеного на окремі секції. У кожній секції є верхнє та нижнє корита, зроблені з листової сталі та з’єднані болтами. У нижньому кориті (8) жолоба знаходяться пористі плитки (7), на яких розміщується вантаж, що завантажується з бункера (3) через течку (4). Повітря під невеликим надлишковим тиском (30-50 кПа) надходить у нижню частину жолоба через гнучкий шланг (2) від вентилятора (1). Проходячи через пори плиток, повітря поділяється на безліч мікроструменів, які проникають у вантаж і аерують його. За наявності невеликого ухилу (1 – 5%) у напрямку транспортування, аерований вантаж тече, подібно до рідини. Повітря, що містить аеровані частинки вантажу, проходить через плоскі матер’яні фільтри (6), розташовані у верхній частині жолоба, і викидається в атмосферу.

За рівних умов (продуктивність, довжина) потужність, необхідна для пневматичного транспортування вантажу жолобом, виявляється на 5-8 разів меншою порівняно з транспортуванням з використанням гвинтових або інших типів конвеєрів. Існуючі конструкції пневматичних жолобів здатні забезпечувати продуктивність до 200 тонн на годину і більше, причому дальність транспортування досягає 40 метрів і навіть більше. Витрата повітря під час транспортування становить приблизно 100—130 м3/год на 1 м2 поверхні пористої перегородки.

1Одним з ключових факторів для безперервного руху вантажу є підтримання насиченості вантажу повітрям по всьому шляху переміщення. Для цього достатньо змінити щільність вантажу шляхом насичення його повітрям на 15—35%. Цей процес замінює взаємне тертя між частинками вантажу на тертя частинок повітря. Зазвичай, пневматичні жолоби використовуються для транспортування вантажів з температурою до 135°С. При наявності пористих плит, стійких до високих температур, наприклад, керамічних, температурний діапазон може розширюватися до 530°С. Такий спосіб транспортування вантажів за допомогою насиченого повітрям дозволяє створювати прості та економічні системи, які мають герметичність і не мають деталей, що рухаються або піддаються зносу. Вони характеризуються низьким енергоспоживанням, високою продуктивністю та компактними розмірами. Однак недоліком даного методу є необхідність мати похилий ухил униз, що обмежує максимальну довжину транспортування.

В останні роки спостерігається тенденція до використання пневматичного транспорту з мінімальною витратою повітря і високою концентрацією суміші, що переміщається. Це особливо вигідно для коротких дистанцій та вертикальних ділянок маршруту. У таких випадках у пневмопідйомниках (рисунок 3) вантаж переміщається за низьких швидкостей повітря. Для початку руху на початку трубопроводу достатньо створити тиск повітря, що трохи перевищує тиск суміші вантажу і повітря в трубі. Пневмопідйомник включає резервуар (2), що містить початкову ділянку транспортного трубопроводу. У нижній частині резервуара є повітряна камера (4) із вбудованою пористою перегородкою (3) та трубопроводом (5) для подачі стисненого повітря. Вантаж подається до резервуару через завантажувальний пристрій (6), оснащений конічним клапаном. Для прийому вантажу, що транспортується, передбачений бункер-відділювач (7), над яким встановлений рукавний фільтр (8) для очищення повітря. Також можливо транспортувати індивідуальні предмети, поміщені в спеціально калібровані набої діаметром до 200 мм, обладнані ущільненнями, що знижують витік повітря між патронами та стінкою труби. Такі системи транспортування широко використовуються у телекомунікаційних установах, банках, магазинах, а також у металургійній промисловості для пересилання зразків у лабораторії та інших цілях. Для переміщення великогабаритних насипних вантажів, таких як руда або вугілля або окремих деталей, застосовуються великогабаритні патрони діаметром до 900 мм, обладнані колесами, що дозволяє їм переміщатися по внутрішній поверхні трубопроводу.

Рисунок4, пункт “а”, зображує систему пневматичної пошти, що є кільцевою повітропровід з гілками, з’єднаними зі станціями, між якими існує постійний зв’язок. У патронах, що переміщуються зі швидкістю 32-48 км/год, здійснюється транспортування листів та документів. При цьому не потрібна наявність обслуговуючого персоналу.

1Рисунок 4 Пневматична пошта
а – система пневмопошти, б – патрон з нумератором напрямку. Патрон (рис. 4,6) складається з алюмінієвого корпусу 3, фетрового амортизатора 1, напрямного фетрового кільця 4, кришки 5 з кнопковим замком і номерною адресою 2. Обертанням кілець адресатора перед оглядовими вікнами патрона встановлюється номер лінії зв’язку і номер станції. Патрон із вкладеною в неї поштою вставляється в отвір труби приймальної станції та переміщуємо по трубопроводу дією стисненого повітря. На розвантажувальних станціях трубопровід має відгалуження зі стрілочними переведеннями, що направляють патрон за вказаною адресою.